October 14, 2022

Две жизни одной Хеди Ламарр: биография актрисы и изобретательницы

Хеди Ламарр была той, кого в прессе обычно называют «секс-символом»: за ней прочно закрепился образ роковой красавицы, какой она являла себя на больших экранах. Впечатленные внешностью Ламарр режиссеры, журналисты и зрители видели в ней не более чем привлекательную картинку, тогда как сама актриса со временем стала ненавидеть свою красоту, за которой никто не замечал ее настоящую сущность — непризнанного гения, изобретательницу, увлеченную наукой женщину.

Источник фото: https://pic.rutubelist.ru/video/f1/26/f126d353838aaed1865a1d816f8416c8.jpg

Девальвация талантов

Хедвиг Ева Мария Кислер (настоящее имя Хеди Ламарр) родилась 9 ноября 1914 года в Австрии. Будучи единственным ребенком в семье, девочка не была обделена вниманием родителей, которые многое делали для ее развития. Отец часто брал ее на прогулки, во время которых рассказывал о мире вокруг, особенно про устройство различных машин вроде печатного станка. Рассказы папы вдохновили девочку самой исследовать все вокруг: так всего в пять лет Хедвиг сама разобрала и собрала музыкальную шкатулку, чтобы понять, как она устроена. Вместе с тем мать девочки занималась ее культурным воспитанием, с юных лет обучая дочь балету и искусству игры на фортепьяно.

Способности Хедвиг в инженерии и искусстве отошли на второй план, когда девочке было 16: на нее обратил внимание режиссер Макс Рейнхардт, предложивший ей заняться актерским мастерством. Родители не были в восторге от этой идеи, так что Хедвиг подделала заявление и отправилась постигать искусство кино без одобрения семьи. С тех пор и на долгие годы вперед главным достоинством Хедвиг в глазах окружающих стала ее красота, благодаря которой кинокарьера молодой актрисы развивалась с огромной скоростью.

В свете софитов

Признание пришло к Ламарр в 1932 году, когда на экраны вышел «Экстаз». Фильм обрел скандальную славу: впервые в кинематографе показали столь откровенные сцены, как оргазм, а сыграграла это именно Хеди. После выхода фильма толпы поклонников едва ли не боготворили актрису, в то время как консервативная и религиозная общественность негодовали.

Несмотря на скандальный прокат «Экстаза», карьера Ламарр быстро шла в гору. Одной из самых успешных ее работ того периода стала главная роль в пьесе «Сисси» об австрийской императрице Элизабет. Среди многих поклонников, активно ухаживающих за звездой спектакля, самым настойчивым оказался оружейный магнат Фридрих Мандль.

Он и стал первым супругом любимицы публики. Брак не принес Хеди желаемого счастья: муж строго контролировал ее и всячески ограничивал свободу. Мандль даже попытался выкупить все копии «Экстаза», чтобы никто не смотрел на его возлюбленную в этом фильме. «Я очень скоро поняла, что никогда не смогу стать актрисой, пока я была его женой», — вспоминала о первом браке Ламарр. Ей удалось вырваться из сетей Мандля в 1937 году, сбежав в Лондон.

Источник фото: https://s9.travelask.ru/uploads/post/000/029/825/main_image/facebook-e5e9ed68bc731908fab32c0722571b54.jpg

Добро пожаловать в Голливуд

Желанный для актеров со всего света билет в Голливуд Ламарр получила благодаря знакомству с Луи Би Майером, главой киностудии MGM. Из Лондона актриса отправилась в США, где стала работать с крупнейшими звездами эпохи, преумножая свой профессиональный творческий капитал.

Ламарр называли красивейшей женщиной мира, ею восторгались, ее желали, ей завидовали. Есть легенда, что черты австрийской актрисы отразились в Белоснежке Уолта Диснея и Чудо-женщине из комиксов — присутствие Хеди в американской культуре расширялось с каждым фильмом, с каждым появлением на публике. Тем не менее актриса едва ли была удовлетворена происходящим: Хеди стала заложницей своего образа идеальной красавицы, из-за чего все предлагаемые ей роли были однотипными — актриса играла симпатичных недалеких спутниц главных героев, легкомысленных женщин.

Вспышки папарацци и кинокамеры не отвадили женщину от ее детской страсти — изобретательства. Ламарр активно мастерила новые изобретения из подручных средств, придумывала оригинальные инженерные решения и разрабатывала новые технологии. Даже в актерском трейлере она организовала небольшую мастерскую для своих экспериментов. Среди ее изобретений — дозатор для горчицы, флуоресцентный собачий ошейник и пластинки для изменения вкуса воды.

кадр из фильма Bombshell: The Hedy Lamarr Story
Источник фото: https://cdn.popbela.com/content-images/post/20220816/8919f5f17e76be098d89ff1c77342b96.jpg

Не просто красивая спутница

Об изобретательности Ламарр знали немногие, но авиационный магнат Говард Хьюз, который позже стал мужем актрисы, был в курсе. Хеди увлеклась областью деятельности супруга и даже разработала новую форму крыльев для самолетов, более обтекаемую и совершенную с инженерной точки зрения. Вдохновение для своего изобретения Ламарр нашла в книгах о животных, изучая их анатомию.

Поняв, что она может принести пользу миру в борьбе с Третьим Рейхом, Ламарр стала работать в этом направлении. Ее первый муж, торговавший оружием, часто брал жену на встречи с партнерами, чтобы похвастаться красивой спутницей. Она же, в свою очередь, запоминала все услышанное, и могла использовать свои знания.

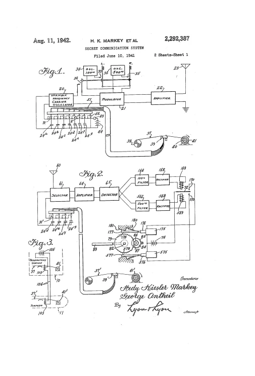
В 1940 году Ламарр познакомилась с композитором Джорджем Антей. У них было немало общего, и главное, что их объединяло — желание противостоять войне. Однажды, играя на фортепьяно в четыре руки, Ламарр и Антей пришли к идее создания принципиально нового способа передачи связи: они предложили использовать скачкообразную перестройку частоты радиоволн, когда и передатчик, и приемник одновременно перестраиваются на новые заранее запланированные частоты. Это позволяет сделать сигнал устойчивым к помехам при глушении и предотвратить перехват радиоволн.

Чертеж из патента US2292387A
Источник фото: https://cdn.forbes.ru/forbes-static/608x742/new/2021/09/US2292387-drawings-page-1-6135d2533914e-6135d25369ce6.webp

Несмотря на потенциальную пользу от нового изобретения, американские военные не восприняли идею актрисы и композитора всерьез. Метод Ламарр и Антейла оценили только годы спустя, широко применяться он стал только во время Карибского кризиса. Он стал основой Milstar (военной системы спутниковой связи США), а также множества технологий передачи сигналов, в том числе Bluetooth, GPS и Wi-Fi.

Запоздалое признание

К моменту, когда изобретение Ламарр стали использовать,  действие патента уже истекло, поэтому актриса-изобретательница так ничего и не заработала на своих научных достижениях. Лищь в последние годы жизни Хеди Ламарр получила признание не только как актриса, но и как деятельница науки. В 1997 году фонд Electronic Frontier Foundation присудил ей и Джорджу Антейлу премию «Пионер». «Надо же, я внезапно оказалась умной», — отреагировала Хеди на запоздалый интерес к своему открытию.

Ламарр ушла из жизни в 2000 году, уже посмертно в 2014 году она была включена в Национальный зал славы изобретателей за разработку технологии скачкообразной перестройки частоты.

Автор - Милана Стояновска